在CAD编辑图形的过程中,通常离不开选择对象的操作。在AutoCAD中选择对象的方法有多种,如通过单击对象单个选择、利用矩形窗口或交叉窗口选择、栏选方法和快速选择法等。下面介绍常用的对象选择方法。

1、通过单击对象来选择
可以通过单击单个对象来选择它,这是AutoCAD绘图中最为常见的一种对象选择方法。如果需要选择多个图形对象,只需使用鼠标逐个单击这些对象,即可完成选择它们。有时在执行某命令之前选择对象,有时也可以先选择某命令再选择对象。
如果是在执行某命令之前选择对象,那么所选的对象将以特定加亮线或虚线显示,并显示其夹点。
如果先选择某命令且系统提示"选择对象"时,置于图形窗口中的鼠标指针显示为一个小方框,该小方框被称为拾取框,使用拾取框区单击所需的对象,则所选的对象以特定加亮线或虚线显示,而没有显示其夹点。
要取消选择对象,则常用方法是按住〈Shift〉键并单击对象以将该对象从选择集中移除。当然,按〈Esc〉键可以取消选择全部选定对象。
2、窗口选择与交叉选择
窗口选择是确定选择图形对象范围的一种典型选择方法,它是指左到右拖动光标指定一个以实线显示的矩形选择框,以选择完全封闭在该矩形选择框中的所有对象,而位于窗口外以及与窗口边界相交的对象则不会被选中。
交叉选择也称交叉窗口选择,它与窗口选择的选择方式类似,所不同的是使用鼠标移动光标选定矩形选择框对角点的方向不同,即交叉选择从右到左拖动光标指定一个以特定虚线显示的矩形选择框,与该矩形选择框相交或被完全包含的对象都将被选中。
3、选择不规则形状区域中的对象
选择不规则形状区域中的对象分两种情形,一种是使用窗口多边形进行选择(窗口选择),另一种则是使用交叉多边形进行选择(窗交选择)。
(1)使用窗口多边形(窗口选择)

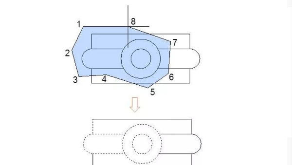
在"选择对象"的提示下,输入"WP"并按〈Enter〉键以启用窗口多边形选择模式,接着指定几个点,这些点定义完全包围要选择的对象的区域,按〈Enter〉键闭合多边形选择区域并完成选择,示例如图5所示,完全位于窗口多边形里的对象被选中。
(2)使用交叉多边形(窗交选择)
在"选择对象"的提示下输入"CP"并按〈Enter〉键以启用交叉多边形选择模式,接着分别指定几个点,这些点定义包围或交叉要选择的对象,按〈Enter〉键闭合多边形选择区域并完成选择,与交叉多边形相交或被交叉多边形完全包围的对象都被选中。

4、栏选
栏选是指使用选择栏选择对象,所谓的选择栏其实是定义的一段或多段直线,它穿过的所有对象均被选中。使用选择栏选择对象的步骤是在后续命令的"选择对象"提示下,输入"F"并按〈Enter〉键以启用栏选模式,接着指定若干点创建经过要选择对象的选择栏,按〈Enter〉键完成选择,
5、套索选择
这里以AutoCAD 2016为例,在编辑操作过程中可以使用套索方式来选择要编辑的对象。其方法是在执行某些编辑工具命令后,在"选择对象"的提示下于图形窗口中按住鼠标左键并拖出一个不规则的选择框,此时可以按空格键循环浏览套索选项,即按空格键在"窗交""窗口"和"栏选"这些套索方式之间循环切换,释放鼠标左键便可按照选定的套索方式选择所需的图形对象。在未执行编辑工具命令之前,也可以使用套索方式选择对象。
6、快速选择法
在AutoCAD 2016中选择具有某些共同特性的对象时,可以使用"快速选择"功能(QSELECT命令),此时可以根据对象的颜色、图层、线型、线宽及图案填充等特性和类型来创建选择集,其方法步骤简述如下。
(1)以"草图与注释"工作空间为例,从功能区的"默认"选项卡的"实用工具"面板中单击"快速选择"按钮,系统弹出如图8所示的"快速选择"对话框。

(2)利用"快速选择"对话框,设置要应用到的范围(如整个图形)、对象类型(如所有图元)、特性、运算符和值,在"如何应用"选项组中指定是将符合给定过滤条件的对象包括在新选择集内或是排除在新选择集之外。而"附加到当前选择集"复选框则指定是由"QSELECT"命令创建的选择集替换还是附加到当前选择集。
(3)单击"确定"按钮,从而根据设定的过滤条件创建选择集。
新闻热点
疑难解答